Russian Frisco - Русский Сан Франциско
. Russian America Top
Russian Frisco News. Новости на Русском Сан ФранцискоNews Russian Frisco - Events. События и Афиша на Русском Сан ФранцискоEvents Russian Frisco Yellow Pages. Жёлтые страницы Русского Сан ФранцискоYellow Pages Russian Frisco Classfieds. Объявления на Русском Сан ФранцискоClassifieds Russian Frisco Dating. Знакомства на Русском Сан ФранцискоDating Russian Frisco Forum. Дискуссионный клуб Русского Сан ФранцискоForum Russian Frisco Chat. Чат на Русском Сан ФранцискоChat
 News Central
В мире
  Политика
  Разное
Бизнес
  Деньги
Общество
  Мода
  Религия
  Светская жизнь
  Шоу Бизнес
  Пикантные новости
  Животные
  Криминал
Спорт
Искусство
  Кино
  Музыка
Авто
Hi-Tech
  Интернет
  Hardware
  SoftNews
Здоровье
Путешествия
Вокруг света
USA
Россия
  
Ресурсы
  Самые последние
  Самые читаемые
Архив
 Другие ресурсы
Все Ресурсы

Рассылки
Газеты
Журналы
ТВ - Online
Радио

Юмор
  Анекдоты
  Игры
  Этикетки
  
Открытки
  Поздравь друга
  
Программа TV
Кино
  Новости кино
  Кинообзоры
  
Музыка
  Радио в internet
  Russian Top
  
Спорт
Web Обзоры Exler.ru
  
Читальный зал
ЭКСпромт - статьи для чайников
Компьютерные игры
Finance News
Автообзоры
Russian America Journal Digest
 Смотрите также
Yellow Pages
Объявления
Чат
Форум
  последнее

Читальный зал
  Стихи
  Проза
  Кулинария

Едем в Америку!
  Иммиграция
  Визы
  Советы

Знакомства
Фотоальбомы
Top Rating
  America TOP
  
 
NEWS CENTRAL >> Hi-Tech

Hi-Tech

Ученые увеличили эффективность тритиевых батарей
12:13PM Thursday, Dec 18, 2008
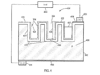
Бета-гальваническая батарея нового типа в разрезе. Полупроводник с нанопорами заштрихован. Сверху виден тонкий слой полимера с тритием. Изображение авторов исследования

Бета-гальваническая батарея нового типа в разрезе. Полупроводник с нанопорами заштрихован. Сверху виден тонкий слой полимера с тритием. Изображение авторов исследования
Американским исследователям удалось создать новую схему бета-гальванической батареи, сообщает New Scientist. В настоящее время исследователи патентуют свое изобретение.

Основным компонентом бета-гальванической батареи является радиоактивный изотоп водорода тритий. В процессе так называемого бета-распада (отсюда и название) он превращается в гелий-3, испуская электроны и антинейтрино. Кроме трития в батарее имеется полупроводник, на который эти электроны попадают. В результате в полупроводнике возникает электрический ток. Данный процесс аналогичен фотоэлектрическому эффекту, где ток возникает под воздействием фотонов.

Основной проблемой является низкая эффективность таких батарей. Энергия испускаемых электронов достаточно мала, поэтому внутри батареи многие из них просто не успевают долететь до полупроводника. Для решения проблемы ученые растворили тритий в специальном полимере, которым покрыли нанопористый полупроводник. Это значительно уменьшило расстояние между источником и приемником электронов, позволив заметно увеличить эффективность работы.

Обладают новые батареи и другим плюсом: им можно придавать практически любую форму. Кроме этого, создатели утверждают, что их батареи безопасны. Даже если защитное покрытие будет повреждено, полимер не даст тритию "утечь".

В настоящее время радиоактивные источники питания, применяемые, например, в космических аппаратах, используют тепловую энергию радиоактивного распада. В ядерном реакторе тепло идет на разогрев воды и превращения ее в пар, который вращает турбины.

По материалам lenta.ru
Смотрите также: Hi-Tech, Интернет, Hardware, SoftNews
 
Читайте также:

Вселенная оказалась "правшой"

Руководитель проекта Большого адронного коллайдера назван ньюсмейкером года

Астрономы обнаружили самую далекую космическую воду

Ученые создали карту распределения лунного водорода

Тихоокеанское насекомое оказалось в три раза старше своего острова

"Хоббитов" вновь выделили в отдельный вид


Спектрометр индийского спутника передал на Землю первые данные

В Сахаре обнаружены останки ранее неизвестных видов динозавров

В магнитносфере Земли обнаружили огромную дыру

Ученых-биологов заставят писать статьи для Википедии

Колебания Моста Тысячелетия объяснили человеческой природой

Метеорологи включили 2008 год в десятку самых теплых лет

В Аргентине обнаружили останки неизвестного ранее динозавра

Во время выхода в открытый космос космонавты будут в часах

В гибели динозавров обвинили вулканы

Создано азиатско-тихоокеанское космическое агентство

Астрономы показали тяжесть условий в "космической коммуналке"

Создан ускоритель заряженных частиц с пониженным потреблением энергии

На Титане обнаружены активные криовулканы

Бактерии решили превратить в источник энергии

Ученые разработали квантовые наномоторы



Рассылки:
  Новости-почтой
  TV-Программа
  Гороскопы
  Job Offers
  Концерты
  Coupons
  Discounts
  Иммиграция
  Business News
  Анекдоты
Многое другое...

News Central Home | News Central Resources | Portal News Resources | Help | Login
 
Russian Boston Russian LA Holostyak.com Рейтинг@Mail.ru © 2025 RussianAMERICA Holding
All Rights Reserved • Contact